FAF59減速機銘牌參數說明解讀含義:有關型號描述的詳細情況及其他信息可以參閱本業附件下載中的FAF59減速機選型樣本。
FAF59-YDP4KW-4P-19.11-M1-90°
FAF:系列代號
59:減速機規格代號
YDP:電機
4KW:電機功率
4P:電機級數
19.11:減速機傳動比
M1:減速機安裝位置
90°:接線盒位置

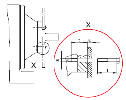
FAF59減速機AD軸入模塊配置:
FAF59減速機AD軸入模塊使用對中軸肩安裝應用設備:對應用設備進行固定時,必須提供相應長度的螺栓。新螺栓的長度L計算如下:[1]t+a;[t]旋入深度(參見表格);[a]應用設備的厚度;[s]緊固螺紋(參見表格)

FAF59減速機AD軸入模塊根據計算所得的螺栓長度,選取最接近的較小的標準長度;從對中軸肩上卸下固定螺栓;清潔裝配表面和對中軸肩;清潔新螺栓的螺紋并且使用螺栓緊固劑抹在前段螺紋上;將應用設備裝在對中軸肩上,并根據下表所列的擰緊扭矩TA(見下表)擰入緊固螺栓。變頻電機減速機
FAF59減速機AD軸入模塊型號 | 旋入深度 t[mm] | 緊固螺紋 S | 擰緊扭矩 TA用于強度等級為8.8的連接螺栓 |
FAF59AD2/ZR | 25.5 | M8 | 25 |
FAF59AD3ZR | 31.5 | M10 | 48 |
FAF59AD4/ZR | 36 | M12 | 86 |
FAF59AD5/ZR | 44 | M12 | 86 |
FAF59AD6/ZR | 48.5 | M16 | 210 |
FAF59AD7/ZR | 49 | M20 | 410 |
FAF59AD8/ZR | 42 | M12 | 86 |
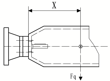
FAF59減速機AD軸入模塊允許荷載:安裝電機時可能出現超常負荷;嚴禁超出下表所列的負荷值。強度等級為8.8的連接螺栓的最大負荷值。電機的最大允許許重力Fqmax,隨著中心距X的增加而呈線性下降。在中心距減小的情況下,Fqmax不增加;聯軸器輸出法蘭盤直徑:160mm。齒輪減速電機

FAF59減速機AD軸入模塊型號 | X [mm] | F q [N] |
FAF59AD2/ZR | 193 | 330 |
FAF59AD3/ZR | 274 | 1400 |
FAF59AD4/ZR | 361 | 1120 |
FAF59AD4/ZR | 361 | 3300 |
FAF59AD5/ZR | 487 | 3200 |
FAF59AD6/ZR | 567 | 3900 |
FAF59AD7/ZR | 663 | 10000 |
FAF59AD8/ZR | 516 | 4300 |
FAF59減速機AD軸入模塊在進行調節之前松開螺母,使得螺栓可以在支架上軸向移動。當到達最終調節位置后再上緊螺母。不可通過支架來調整電機安裝平臺。
FAF59減速機維護檢查:
FAF59減速機檢查:首次運行300小時后更換潤滑油,以后每6個月或3000小時檢查一次,發現油位不足或明顯渾濁應及時更換(參考下列圖表):操作步驟檢查油的質量與油位;檢查是否可能因軸承損壞產生運轉噪音;檢查密封圈是否漏油;對于帶扭矩臂的FAF59減速機:檢測橡膠緩沖塊,必要時進行更換。根據工作條件(參見下列圖表),至少每隔半年(每6個月)根據油溫決定:操作步驟更換礦物油;更換軸承潤滑脂(推薦);更換油封(不要安裝在同樣工作軌跡上)。根據工作條件(參見下列圖表),至少每隔半年(每6個月)根據油溫決定:操作步驟更換合成潤滑油;更換軸承潤滑脂(推薦);更換油封(不要安裝在同樣工作軌跡上)。示具體情況而定,不定期檢查(取決于外部影響):修補或者更新表面漆/防銹漆。
FAF59減速機潤滑油更換周期:下圖為在一般條件下標準FAF59減速機的更換周期,對于惡劣環境或有腐蝕條件下使用的特殊情況要縮短更換潤滑油的間隔。平行軸斜齒輪減速機

FAF59減速機維護:根據外部受到的影響,可以在必要情況下對表面漆/防銹漆進行修補或更新。

FAF59減速機型號:
NFAF57-Y0.12KW,NFAF57-Y0.18KW,NFAF57-Y0.25KW,NFAF57-Y0.37KW,NFAF57-Y0.55KW,NFAF57-Y0.75KW,NFAF57-Y1.1KW,NFAF57-Y1.5KW,NFAF57-Y100M4,NFAF57-Y112M4,NFAF57-Y132M4,NFAF57-Y2.2KW,NFAF57-Y3KW,NFAF57-Y4KW,NFAF57-Y5.5KW,NFAF57-Y63M4,NFAF57-Y71M4,NFAF57-Y80M4,NFAF57-Y90M4,NFAF57-YB100M4,NFAF57-YB112M4,NFAF57-YB132M4,NFAF57-YB63M4,NFAF57-YB71M4,NFAF57-YB80M4,NFAF57-YB90M4,NFAF57-YDP100M4,NFAF57-YDP112M4,NFAF57-YDP132M4,NFAF57-YDP63M4,NFAF57-YDP71M4,NFAF57-YDP80M4,NFAF57-YDP90M4,NFAF57-YE100M4,NFAF57-YE112M4,NFAF57-YE132M4,NFAF57-YE63M4,NFAF57-YE71M4,NFAF57-YE80M4,NFAF57-YE90M4,NFAF57-YEJ100M4,NFAF57-YEJ112M4,NFAF57-YEJ132M4,NFAF57-YEJ63M4,NFAF57-YEJ71M4,NFAF57-YEJ80M4,NFAF57-YEJ90M4,NFAF57-YEJB100M4,NFAF57-YEJB112M4,NFAF57-YEJB132M4,NFAF57-YEJB63M4,NFAF57-YEJB71M4,NFAF57-YEJB80M4,NFAF57-YEJB90M4,NFAF57-YP100M4,NFAF57-YP112M4,NFAF57-YP132M4,NFAF57-YP63M4,NFAF57-YP71M4,NFAF57-YP80M4,NFAF57-YP90M4,NFAF57-YPB100M4,NFAF57-YPB112M4,NFAF57-YPB132M4,NFAF57-YPB63M4,NFAF57-YPB71M4,NFAF57-YPB80M4,NFAF57-YPB90M4,NFAF57-YPE100M4,NFAF57-YPE112M4,NFAF57-YPE132M4,NFAF57-YPE63M4,NFAF57-YPE71M4,NFAF57-YPE80M4,NFAF57-YPE90M4,NFAF57-YS100M4,NFAF57-YS112M4,NFAF57-YS132M4,NFAF57-YS63M4,NFAF57-YS71M4,NFAF57-YS80M4,NFAF57-YS90M4,NFAF57-YVB100M4,NFAF57-YVB112M4,NFAF57-YVB132M4,NFAF57-YVB63M4,NFAF57-YVB71M4,NFAF57-YVB80M4,NFAF57-YVB90M4,NFAF57-YVP100M4,NFAF57-YVP112M4,NFAF57-YVP132M4,NFAF57-YVP63M4,NFAF57-YVP71M4,NFAF57-YVP80M4,NFAF57-YVP90M4,NFAF57-YVPEJ100M4,NFAF57-YVPEJ112M4,NFAF57-YVPEJ132M4,NFAF57-YVPEJ63M4,NFAF57-YVPEJ71M4,NFAF57-YVPEJ80M4,NFAF57-YVPEJ90M4,WFAF57-Y0.12KW,WFAF57-Y0.18KW,WFAF57-Y0.25KW,WFAF57-Y0.37KW,WFAF57-Y0.55KW,WFAF57-Y0.75KW,WFAF57-Y1.1KW,WFAF57-Y1.5KW,WFAF57-Y100M4,WFAF57-Y112M4,WFAF57-Y132M4,WFAF57-Y2.2KW,WFAF57-Y3KW,WFAF57-Y4KW,WFAF57-Y5.5KW,WFAF57-Y63M4,WFAF57-Y71M4,WFAF57-Y80M4,WFAF57-Y90M4,WFAF57-YB100M4,WFAF57-YB112M4,WFAF57-YB132M4,WFAF57-YB63M4,WFAF57-YB71M4,WFAF57-YB80M4,WFAF57-YB90M4,WFAF57-YDP100M4,WFAF57-YDP112M4,WFAF57-YDP132M4,WFAF57-YDP63M4,WFAF57-YDP71M4,WFAF57-YDP80M4,WFAF57-YDP90M4,WFAF57-YE100M4,WFAF57-YE112M4,WFAF57-YE132M4,WFAF57-YE63M4,WFAF57-YE71M4,WFAF57-YE80M4,WFAF57-YE90M4,WFAF57-YEJ100M4,WFAF57-YEJ112M4,WFAF57-YEJ132M4,WFAF57-YEJ63M4,WFAF57-YEJ71M4,WFAF57-YEJ80M4,WFAF57-YEJ90M4,WFAF57-YEJB100M4,WFAF57-YEJB112M4,WFAF57-YEJB132M4,WFAF57-YEJB63M4,WFAF57-YEJB71M4,WFAF57-YEJB80M4,WFAF57-YEJB90M4,WFAF57-YP100M4,WFAF57-YP112M4,WFAF57-YP132M4,WFAF57-YP63M4,WFAF57-YP71M4,WFAF57-YP80M4,WFAF57-YP90M4,WFAF57-YPB100M4,WFAF57-YPB112M4,WFAF57-YPB132M4,WFAF57-YPB63M4,WFAF57-YPB71M4,WFAF57-YPB80M4,WFAF57-YPB90M4,WFAF57-YPE100M4,WFAF57-YPE112M4,WFAF57-YPE132M4,WFAF57-YPE63M4,WFAF57-YPE71M4,WFAF57-YPE80M4,WFAF57-YPE90M4,WFAF57-YS100M4,WFAF57-YS112M4,WFAF57-YS132M4,WFAF57-YS63M4,WFAF57-YS71M4,WFAF57-YS80M4,WFAF57-YS90M4,WFAF57-YVB100M4,WFAF57-YVB112M4,WFAF57-YVB132M4,WFAF57-YVB63M4,WFAF57-YVB71M4,WFAF57-YVB80M4,WFAF57-YVB90M4,WFAF57-YVP100M4,WFAF57-YVP112M4,WFAF57-YVP132M4,WFAF57-YVP63M4,WFAF57-YVP71M4,WFAF57-YVP80M4,WFAF57-YVP90M4,WFAF57-YVPEJ100M4,WFAF57-YVPEJ112M4,WFAF57-YVPEJ132M4,WFAF57-YVPEJ63M4,WFAF57-YVPEJ71M4,WFAF57-YVPEJ80M4,WFAF57-YVPEJ90M4,SFAF57-Y0.12KW,SFAF57-Y0.18KW,SFAF57-Y0.25KW,SFAF57-Y0.37KW,SFAF57-Y0.55KW,SFAF57-Y0.75KW,SFAF57-Y1.1KW,SFAF57-Y1.5KW,SFAF57-Y100M4,SFAF57-Y112M4,SFAF57-Y132M4,SFAF57-Y2.2KW,SFAF57-Y3KW,SFAF57-Y4KW,SFAF57-Y5.5KW,SFAF57-Y63M4,SFAF57-Y71M4,SFAF57-Y80M4,SFAF57-Y90M4,SFAF57-YB100M4,SFAF57-YB112M4,SFAF57-YB132M4,SFAF57-YB63M4,SFAF57-YB71M4,SFAF57-YB80M4,SFAF57-YB90M4,SFAF57-YDP100M4,SFAF57-YDP112M4,SFAF57-YDP132M4,SFAF57-YDP63M4,SFAF57-YDP71M4,SFAF57-YDP80M4,SFAF57-YDP90M4,SFAF57-YE100M4,SFAF57-YE112M4,SFAF57-YE132M4,SFAF57-YE63M4,SFAF57-YE71M4,SFAF57-YE80M4,SFAF57-YE90M4,SFAF57-YEJ100M4,SFAF57-YEJ112M4,SFAF57-YEJ132M4,SFAF57-YEJ63M4,SFAF57-YEJ71M4,SFAF57-YEJ80M4,SFAF57-YEJ90M4,SFAF57-YEJB100M4,SFAF57-YEJB112M4,SFAF57-YEJB132M4,SFAF57-YEJB63M4,SFAF57-YEJB71M4,SFAF57-YEJB80M4,SFAF57-YEJB90M4,SFAF57-YP100M4,SFAF57-YP112M4,SFAF57-YP132M4,SFAF57-YP63M4,SFAF57-YP71M4,SFAF57-YP80M4,SFAF57-YP90M4,SFAF57-YPB100M4,SFAF57-YPB112M4,SFAF57-YPB132M4,SFAF57-YPB63M4,SFAF57-YPB71M4,SFAF57-YPB80M4,SFAF57-YPB90M4,SFAF57-YPE100M4,SFAF57-YPE112M4,SFAF57-YPE132M4,SFAF57-YPE63M4,SFAF57-YPE71M4,SFAF57-YPE80M4,SFAF57-YPE90M4,SFAF57-YS100M4,SFAF57-YS112M4,SFAF57-YS132M4,SFAF57-YS63M4,SFAF57-YS71M4,SFAF57-YS80M4,SFAF57-YS90M4,SFAF57-YVB100M4,SFAF57-YVB112M4,SFAF57-YVB132M4,SFAF57-YVB63M4,SFAF57-YVB71M4,SFAF57-YVB80M4,SFAF57-YVB90M4,SFAF57-YVP100M4,SFAF57-YVP112M4,SFAF57-YVP132M4,SFAF57-YVP63M4,SFAF57-YVP71M4,SFAF57-YVP80M4,SFAF57-YVP90M4,SFAF57-YVPEJ100M4,SFAF57-YVPEJ112M4,SFAF57-YVPEJ132M4,SFAF57-YVPEJ63M4,SFAF57-YVPEJ71M4,SFAF57-YVPEJ80M4,SFAF57-YVPEJ90M4,AFAF57-Y0.12KW,AFAF57-Y0.18KW,AFAF57-Y0.25KW,AFAF57-Y0.37KW,AFAF57-Y0.55KW,AFAF57-Y0.75KW,AFAF57-Y1.1KW,AFAF57-Y1.5KW,AFAF57-Y100M4,AFAF57-Y112M4,AFAF57-Y132M4,AFAF57-Y2.2KW,AFAF57-Y3KW,AFAF57-Y4KW,AFAF57-Y5.5KW,AFAF57-Y63M4,AFAF57-Y71M4,AFAF57-Y80M4,AFAF57-Y90M4,AFAF57-YB100M4,AFAF57-YB112M4,AFAF57-YB132M4,AFAF57-YB63M4,AFAF57-YB71M4,AFAF57-YB80M4,AFAF57-YB90M4,AFAF57-YDP100M4,AFAF57-YDP112M4,AFAF57-YDP132M4,AFAF57-YDP63M4,AFAF57-YDP71M4,AFAF57-YDP80M4,AFAF57-YDP90M4,AFAF57-YE100M4,AFAF57-YE112M4,AFAF57-YE132M4,AFAF57-YE63M4,AFAF57-YE71M4,AFAF57-YE80M4,AFAF57-YE90M4,AFAF57-YEJ100M4,AFAF57-YEJ112M4,AFAF57-YEJ132M4,AFAF57-YEJ63M4,AFAF57-YEJ71M4,AFAF57-YEJ80M4,AFAF57-YEJ90M4,AFAF57-YEJB100M4,AFAF57-YEJB112M4,AFAF57-YEJB132M4,AFAF57-YEJB63M4,AFAF57-YEJB71M4,AFAF57-YEJB80M4,AFAF57-YEJB90M4,AFAF57-YP100M4,AFAF57-YP112M4,AFAF57-YP132M4,AFAF57-YP63M4,AFAF57-YP71M4,AFAF57-YP80M4,AFAF57-YP90M4,AFAF57-YPB100M4,AFAF57-YPB112M4,AFAF57-YPB132M4,AFAF57-YPB63M4,AFAF57-YPB71M4,AFAF57-YPB80M4,AFAF57-YPB90M4,AFAF57-YPE100M4,AFAF57-YPE112M4,AFAF57-YPE132M4,AFAF57-YPE63M4,AFAF57-YPE71M4,AFAF57-YPE80M4,AFAF57-YPE90M4,AFAF57-YS100M4,AFAF57-YS112M4,AFAF57-YS132M4,AFAF57-YS63M4,AFAF57-YS71M4,AFAF57-YS80M4,AFAF57-YS90M4,AFAF57-YVB100M4,AFAF57-YVB112M4,AFAF57-YVB132M4,AFAF57-YVB63M4,AFAF57-YVB71M4,AFAF57-YVB80M4,AFAF57-YVB90M4,AFAF57-YVP100M4,AFAF57-YVP112M4,AFAF57-YVP132M4,AFAF57-YVP63M4,AFAF57-YVP71M4,AFAF57-YVP80M4,AFAF57-YVP90M4,AFAF57-YVPEJ100M4,AFAF57-YVPEJ112M4,AFAF57-YVPEJ132M4,AFAF57-YVPEJ63M4,AFAF57-YVPEJ71M4,AFAF57-YVPEJ80M4,AFAF57-YVPEJ90M4,GFAF59-Y0.12KW,GFAF59-Y0.18KW,GFAF59-Y0.25KW,GFAF59-Y0.37KW,GFAF59-Y0.55KW,GFAF59-Y0.75KW,GFAF59-Y1.1KW,GFAF59-Y1.5KW,GFAF59-Y100M4,GFAF59-Y112M4,GFAF59-Y132M4,GFAF59-Y2.2KW,GFAF59-Y3KW,GFAF59-Y4KW,GFAF59-Y5.5KW,GFAF59-Y63M4,GFAF59-Y71M4,GFAF59-Y80M4,GFAF59-Y90M4,GFAF59-YB100M4,GFAF59-YB112M4,GFAF59-YB132M4,GFAF59-YB63M4,GFAF59-YB71M4,GFAF59-YB80M4,GFAF59-YB90M4,GFAF59-YDP100M4,GFAF59-YDP112M4,GFAF59-YDP132M4,GFAF59-YDP63M4,GFAF59-YDP71M4,GFAF59-YDP80M4,GFAF59-YDP90M4,GFAF59-YE100M4,GFAF59-YE112M4,GFAF59-YE132M4,GFAF59-YE63M4,GFAF59-YE71M4,GFAF59-YE80M4,GFAF59-YE90M4,GFAF59-YEJ100M4,GFAF59-YEJ112M4,GFAF59-YEJ132M4,GFAF59-YEJ63M4,GFAF59-YEJ71M4,GFAF59-YEJ80M4,GFAF59-YEJ90M4,GFAF59-YEJB100M4,GFAF59-YEJB112M4,GFAF59-YEJB132M4,GFAF59-YEJB63M4,GFAF59-YEJB71M4,GFAF59-YEJB80M4,GFAF59-YEJB90M4,GFAF59-YP100M4,GFAF59-YP112M4,GFAF59-YP132M4,GFAF59-YP63M4,GFAF59-YP71M4,GFAF59-YP80M4,GFAF59-YP90M4,GFAF59-YPB100M4,GFAF59-YPB112M4,GFAF59-YPB132M4,GFAF59-YPB63M4,GFAF59-YPB71M4,GFAF59-YPB80M4,GFAF59-YPB90M4,GFAF59-YPE100M4,GFAF59-YPE112M4,GFAF59-YPE132M4,GFAF59-YPE63M4,GFAF59-YPE71M4,GFAF59-YPE80M4,GFAF59-YPE90M4,GFAF59-YS100M4,GFAF59-YS112M4,GFAF59-YS132M4,GFAF59-YS63M4,GFAF59-YS71M4,GFAF59-YS80M4,GFAF59-YS90M4,GFAF59-YVB100M4,GFAF59-YVB112M4,GFAF59-YVB132M4,GFAF59-YVB63M4,GFAF59-YVB71M4,GFAF59-YVB80M4,GFAF59-YVB90M4,GFAF59-YVP100M4,GFAF59-YVP112M4,GFAF59-YVP132M4,GFAF59-YVP63M4,GFAF59-YVP71M4,GFAF59-YVP80M4,GFAF59-YVP90M4,GFAF59-YVPEJ100M4,GFAF59-YVPEJ112M4,GFAF59-YVPEJ132M4,GFAF59-YVPEJ63M4,GFAF59-YVPEJ71M4,GFAF59-YVPEJ80M4,GFAF59-YVPEJ90M4。
FAF59減速機生產工廠展示:看廠請聯系微信13827261050,獲取位置,需提前一天預約http://www.hsm-hk.com/product/list-fafxiliejiansuji-cn.html




推薦類似型號:F59減速機
關鍵詞:帶調速電機減速機一體機_變頻電機減速機_FAF系列減速機_扁平減速機_FAF向減速機_變頻減速機_調速減速機_GFAF系列減速機_FAF系列減速器
FAF系列齒輪減速電機型號:FAF29減速機,FAF39減速機,FAF49減速機,FAF69減速機,FAF79減速機,FAF89減速機,FAF99減速機,FAF109減速機,FAF129減速機,FAF159減速機
FAF系列電動機減速機可配變頻電機,剎車電機,防爆電機,伺服電機,交流電機,直流電機,三相電機,單相電機 0.12KW-132KW之間
如需工程師幫選型,請加微信13827261050,留言告知工程師參數要求
標簽:   FAF59減速機 FAF57減速機結構圖 FAF57減速機數模 FAF57減速機樣本 FAF57減速機規格